Node.js中如何使用Cluster模塊,很多新手對此不是很清楚,為了幫助大家解決這個難題,下面小編將為大家詳細講解,有這方面需求的人可以來學習下,希望你能有所收獲。
專業領域包括成都網站建設、成都網站設計、商城網站建設、微信營銷、系統平臺開發, 與其他網站設計及系統開發公司不同,創新互聯公司的整合解決方案結合了幫做網絡品牌建設經驗和互聯網整合營銷的理念,并將策略和執行緊密結合,為客戶提供全網互聯網整合方案。
1.為什么我的應用代碼中明明有app.listen(port);,但cluter模塊在多次fork這份代碼時,卻沒有報端口已被占用?
2.Master是如何將接收的請求傳遞至worker中進行處理然后響應的?
帶著這些疑問我們開始往下看
TIPS:
本文編寫于2019年12月8日,是最新版本的Node.js源碼
Cluster源碼解析:
入口 :
const childOrMaster = 'NODE_UNIQUE_ID' in process.env ? 'child' : 'master'; module.exports = require(`internal/cluster/${childOrMaster}`);分析
會根據一個當前的Node_UNIQUE_ID(后面會講)是否在環境變量中判斷是子進程還是主進程,然后引用不同的js代碼
NODE_UNIQUE_ID是一個唯一標示,Node.js的Cluster多進程模式,采用默認的調度算法是round-robin,其實就是輪詢.官方解釋是實踐效率非常高,穩定
之前的問題一: 為什么我的應用代碼中明明有app.listen(port);,但cluter模塊在多次fork這份代碼時,卻沒有報端口已被占用?
我在Node.js的官網找到了答案:

原來所有的net.Socket都被設置了SO_REUSEADDR
這個SO_REUSEADDR到底是什么呢?
為什么需要 SO_REUSEADDR 參數?
服務端主動斷開連接以后,需要等 2 個 MSL 以后才最終釋放這個連接,重啟以后要綁定同一個端口,默認情況下,操作系統的實現都會阻止新的監聽套接字綁定到這個端口上。
我們都知道 TCP 連接由四元組唯一確定。形式如下
{local-ip-address:local-port , foreign-ip-address:foreign-port}一個典型的例子如下圖

TCP 要求這樣的四元組必須是唯一的,但大多數操作系統的實現要求更加嚴格,只要還有連接在使用這個本地端口,則本地端口不能被重用(bind 調用失敗)
啟用 SO_REUSEADDR 套接字選項可以解除這個限制,默認情況下這個值都為 0,表示關閉。在 Java 中,reuseAddress 不同的 JVM 有不同的實現,在我本機上,這個值默認為 1 允許端口重用。但是為了保險起見,寫 TCP、HTTP 服務一定要主動設置這個參數為 1。
目前常見的網絡編程模型就是多進程或多線程,根據accpet的位置,分為如下場景
2種場景
(1) 單進程或線程創建socket,并進行listen和accept,接收到連接后創建進程和線程處理連接
(2) 單進程或線程創建socket,并進行listen,預先創建好多個工作進程或線程accept()在同一個服務器套接字
這兩種模型解充分發揮了多核CPU的優勢,雖然可以做到線程和CPU核綁定,但都會存在:
1.單一listener工作進程或線程在高速的連接接入處理時會成為瓶頸
2.多個線程之間競爭獲取服務套接字
3.緩存行跳躍
4.很難做到CPU之間的負載均衡
5.隨著核數的擴展,性能并沒有隨著提升
6.SO_REUSEPORT解決了什么問題
7.SO_REUSEPORT支持多個進程或者線程綁定到同一端口,提高服務器程序的性能
解決的問題:
1.允許多個套接字 bind()/listen() 同一個TCP/UDP端口
2.每一個線程擁有自己的服務器套接字
3.在服務器套接字上沒有了鎖的競爭
4.內核層面實現負載均衡
5.安全層面,監聽同一個端口的套接字只能位于同一個用戶下面
其核心的實現主要有三點:
1.擴展 socket option,增加 SO_REUSEPORT 選項,用來設置 reuseport
2.修改 bind 系統調用實現,以便支持可以綁定到相同的 IP 和端口
3.修改處理新建連接的實現,查找 listener 的時候,能夠支持在監聽相同 IP 4.和端口的多個 sock 之間均衡選擇。
5.有了SO_RESUEPORT后,每個進程可以自己創建socket、bind、listen、accept相同的地址和端口,各自是獨立平等的
讓多進程監聽同一個端口,各個進程中accept socket fd不一樣,有新連接建立時,內核只會喚醒一個進程來accept,并且保證喚醒的均衡性。
總結:原來端口被復用是因為設置了SO_REUSEADDR,當然不止這一點,下面會繼續描述
回到源碼第一行
NODE_UNIQUE_ID是什么?
下面給出介紹:
function createWorkerProcess(id, env) { // ... workerEnv.NODE_UNIQUE_ID = '' + id; // ... return fork(cluster.settings.exec, cluster.settings.args, { env: workerEnv, silent: cluster.settings.silent, execArgv: execArgv, gid: cluster.settings.gid, uid: cluster.settings.uid }); }原來,創建子進程的時候,給了每個進程一個唯一的自增標示ID
隨后Node.js在初始化時,會根據該環境變量,來判斷該進程是否為cluster模塊fork出的工作進程,若是,則執行workerInit()函數來初始化環境,否則執行masterInit()函數
就是這行入口的代碼~
module.exports = require(`internal/cluster/${childOrMaster}`);接下來我們需要看一下net模塊的listen函數源碼:
// lib/net.js // ... function listen(self, address, port, addressType, backlog, fd, exclusive) { exclusive = !!exclusive; if (!cluster) cluster = require('cluster'); if (cluster.isMaster || exclusive) { self._listen2(address, port, addressType, backlog, fd); return; } cluster._getServer(self, { address: address, port: port, addressType: addressType, fd: fd, flags: 0 }, cb); function cb(err, handle) { // ... self._handle = handle; self._listen2(address, port, addressType, backlog, fd); } }仔細一看,原來listen函數會根據是不是主進程做不同的操作!
上面有提到SO_REUSEADDR選項,在主進程調用的_listen2中就有設置。
子進程初始化的每個workerinit函數中,也有cluster._getServer這個方法,
你可能已經猜到,問題一的答案,就在這個cluster._getServer函數的代碼中。它主要干了兩件事:
向master進程注冊該worker,若master進程是第一次接收到監聽此端口/描述符下的worker,則起一個內部TCP服務器,來承擔監聽該端口/描述符的職責,隨后在master中記錄下該worker。
Hack掉worker進程中的net.Server實例的listen方法里監聽端口/描述符的部分,使其不再承擔該職責。
對于第一件事,由于master在接收,傳遞請求給worker時,會符合一定的負載均衡規則(在非Windows平臺下默認為輪詢),這些邏輯被封裝在RoundRobinHandle類中。故,初始化內部TCP服務器等操作也在此處:
// lib/cluster.js // ... function RoundRobinHandle(key, address, port, addressType, backlog, fd) { // ... this.handles = []; this.handle = null; this.server = net.createServer(assert.fail); if (fd >= 0) this.server.listen({ fd: fd }); else if (port >= 0) this.server.listen(port, address); else this.server.listen(address); // UNIX socket path. /// ... }在子進程中:
function listen(backlog) { return 0; } function close() { // ... } function ref() {} function unref() {} var handle = { close: close, listen: listen, ref: ref, unref: unref, }由于net.Server實例的listen方法,最終會調用自身_handle屬性下listen方法來完成監聽動作,故在代碼中修改之:此時的listen方法已經被hack ,每次調用只能發揮return 0 ,并不會監聽端口
// lib/net.js // ... function listen(self, address, port, addressType, backlog, fd, exclusive) { // ... if (cluster.isMaster || exclusive) { self._listen2(address, port, addressType, backlog, fd); return; // 僅在worker環境下改變 } cluster._getServer(self, { address: address, port: port, addressType: addressType, fd: fd, flags: 0 }, cb); function cb(err, handle) { // ... self._handle = handle; // ... } }這里可以看到,傳入的回調函數中的handle,已經把listen方法重新定義,返回0,那么等子進程調用listen方法時候,也是返回0,并不會去監聽端口,至此,煥然大悟,原來是這樣,真正監聽端口的始終只有主進程!
上面通過將近3000字講解,把端口復用這個問題講清楚了,下面把負載均衡這塊也講清楚。然后再講PM2的原理實現,其實不過是對cluster模式進行了封裝,多了很多功能而已~
首先畫了一個流程圖

核心實現源碼:
function RoundRobinHandle(key, address, port, addressType, backlog, fd) { // ... this.server = net.createServer(assert.fail); // ... var self = this; this.server.once('listening', function() { // ... selfself.handle.onconnection = self.distribute.bind(self); }); } RoundRobinHandle.prototype.distribute = function(err, handle) { this.handles.push(handle); var worker = this.free.shift(); if (worker) this.handoff(worker); }; RoundRobinHandle.prototype.handoff = function(worker) { // ... var message = { act: 'newconn', key: this.key }; var self = this; sendHelper(worker.process, message, handle, function(reply) { // ... });解析
定義好handle對象中的onconnection方法
觸發事件時,取出一個子進程通知,傳入句柄
子進程接受到消息和句柄后,做相應的業務處理:
var accepted = server !== undefined; // ... if (accepted) server.onconnection(0, handle);// lib/cluster.js // ... // 該方法會在Node.js初始化時由 src/node.js 調用 cluster._setupWorker = function() { // ... process.on('internalMessage', internal(worker, onmessage)); // ... function onmessage(message, handle) { if (message.act === 'newconn') onconnection(message, handle); // ... } }; function onconnection(message, handle) { // ... }總結下來,負載均衡大概流程:
1.所有請求先同一經過內部TCP服務器,真正監聽端口的只有主進程。
2.在內部TCP服務器的請求處理邏輯中,有負載均衡地挑選出一個worker進程,將其發送一個newconn內部消息,隨消息發送客戶端句柄。
3.Worker進程接收到此內部消息,根據客戶端句柄創建net.Socket實例,執行具體業務邏輯,返回。
至此,Cluster多進程模式,負載均衡講解完畢,下面講PM2的實現原理,它是基于Cluster模式的封裝
PM2的使用:
npm i pm2 -g pm2 start app.js pm2 ls
這樣就可以啟動你的Node.js服務,并且根據你的電腦CPU個數去啟動相應的進程數,監聽到錯誤事件,自帶重啟子進程,即使更新了代碼,需要熱更新,也會逐個替換,號稱永動機。
它的功能:
1.內建負載均衡(使用Node cluster 集群模塊)
2.后臺運行
3.0秒停機重載,我理解大概意思是維護升級的時候不需要停機.
4.具有Ubuntu和CentOS 的啟動腳本
5.停止不穩定的進程(避免無限循環)
6.控制臺檢測
7.提供 HTTP API
8.遠程控制和實時的接口API ( Nodejs 模塊,允許和PM2進程管理器交互 )
先來一張PM2的架構圖:

pm2包括 Satan進程、God Deamon守護進程、進程間的遠程調用rpc、cluster等幾個概念
如果不知道點西方文化,還真搞不清他的文件名為啥是 Satan 和 God:
撒旦(Satan),主要指《圣經》中的墮天使(也稱墮天使撒旦),被看作與上帝的力量相對的邪惡、黑暗之源,是God的對立面。
1.Satan.js提供了程序的退出、殺死等方法,因此它是魔鬼;God.js 負責維護進程的正常運行,當有異常退出時能保證重啟,所以它是上帝。作者這么命名,我只能說一句:oh my god。
God進程啟動后一直運行,它相當于cluster中的Master進程,守護者worker進程的正常運行。
2.rpc(Remote Procedure Call Protocol)是指遠程過程調用,也就是說兩臺服務器A,B,一個應用部署在A服務器上,想要調用B服務器上應用提供的函數/方法,由于不在一個內存空間,不能直接調用,需要通過網絡來表達調用的語義和傳達調用的數據。同一機器不同進程間的方法調用也屬于rpc的作用范疇。
3.代碼中采用了axon-rpc 和 axon 兩個庫,基本原理是提供服務的server綁定到一個域名和端口下,調用服務的client連接端口實現rpc連接。后續新版本采用了pm2-axon-rpc 和 pm2-axon兩個庫,綁定的方法也由端口變成.sock文件,因為采用port可能會和現有進程的端口產生沖突。
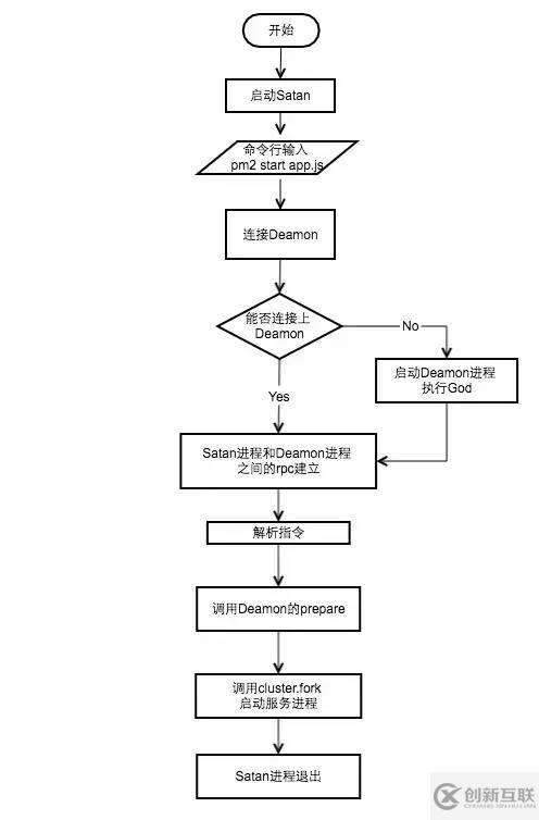
執行流程
程序的執行流程圖如下:

每次命令行的輸入都會執行一次satan程序。如果God進程不在運行,首先需要啟動God進程。然后根據指令,satan通過rpc調用God中對應的方法執行相應的邏輯。
以 pm2 start app.js -i 4為例,God在初次執行時會配置cluster,同時監聽cluster中的事件:
// 配置cluster cluster.setupMaster({ exec : path.resolve(path.dirname(module.filename), 'ProcessContainer.js') }); // 監聽cluster事件 (function initEngine() { cluster.on('online', function(clu) { // worker進程在執行 God.clusters_db[clu.pm_id].status = 'online'; }); // 命令行中 kill pid 會觸發exit事件,process.kill不會觸發exit cluster.on('exit', function(clu, code, signal) { // 重啟進程 如果重啟次數過于頻繁直接標注為stopped God.clusters_db[clu.pm_id].status = 'starting'; // 邏輯 ... }); })();在God啟動后, 會建立Satan和God的rpc鏈接,然后調用prepare方法。prepare方法會調用cluster.fork,完成集群的啟動
God.prepare = function(opts, cb) { ... return execute(opts, cb); }; function execute(env, cb) { ... var clu = cluster.fork(env); ... God.clusters_db[id] = clu; clu.once('online', function() { God.clusters_db[id].status = 'online'; if (cb) return cb(null, clu); return true; }); return clu; }PM2的功能目前已經特別多了,源碼閱讀非常耗時,但是可以猜測到一些功能的實現:
例如
如何檢測子進程是否處于正常活躍狀態?
采用心跳檢測
每隔數秒向子進程發送心跳包,子進程如果不回復,那么調用kill殺死這個進程 然后再重新cluster.fork()一個新的進程
子進程發出異常報錯,如何保證一直有一定數量子進程?
子進程可以監聽到錯誤事件,這時候可以發送消息給主進程,請求殺死自己 并且主進程此時重新調用cluster.fork一個新的子進程
看完上述內容是否對您有幫助呢?如果還想對相關知識有進一步的了解或閱讀更多相關文章,請關注創新互聯行業資訊頻道,感謝您對創新互聯的支持。
網站名稱:Node.js中如何使用Cluster模塊
文章地址:http://www.yijiale78.com/article10/jceddo.html
成都網站建設公司_創新互聯,為您提供ChatGPT、搜索引擎優化、云服務器、網頁設計公司、做網站、網站內鏈
聲明:本網站發布的內容(圖片、視頻和文字)以用戶投稿、用戶轉載內容為主,如果涉及侵權請盡快告知,我們將會在第一時間刪除。文章觀點不代表本網站立場,如需處理請聯系客服。電話:028-86922220;郵箱:631063699@qq.com。內容未經允許不得轉載,或轉載時需注明來源: 創新互聯