網站要能訪問都需要域名,自2017開始國家對于域名的的管控越來越嚴格,從以前的只有.cn域名需要認證到現在的所有域名都是要認證,沒有認證的域名將從2017.5.1開始停止其解析,所以所有網站的域名都要進行實名認證,以前已經購買未認證的要補操作。下面創新互聯就
網站建設中如何進行域名認證進行詳細介紹。
域名認證和網站備案不同,域名認證是對一個企業所擁有的域名進行實名認證,就像我們實名認證一個微博、微信等平臺一樣。其實實名認證還是挺簡單的,創新互聯(www.yijiale78.com)為大家闡述下如何進行域名的實名認證。下面以在阿里云平臺購買的域名為例闡述下如何進行域名實名認證

1、購買域名的時候我們都會填寫清楚各種公司信息,如下圖的一些參數
.com是國際域名,域名的所有者信息以英文為準,圖中所有信息都需要對應的中英文雙語,如果沒有英文信息也可以填寫漢語全拼。

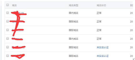
2、域名購買好后,在會員中心查找到本域名可以看到狀態一欄有‘未實名認證’的文字標識,如下圖會員中心的域名有已經做了認證的也有未作實名認證的。

3、實名認證:對于未實名認證的域名可以點擊未實名制認證幾個字樣或者點擊:管理—基本信息—去實名認證。到達實名認證界面后,首先要弄明白域名所有是個人還是企業,如上購買截圖以企業名義購買的域名,則對應填寫上企業的基本信息,主要為營業執照證件號碼和營業執照掃描電子版,填寫認證信息的網頁界面如下:
從上圖可以看出認證主要有3步,上傳認證資料——等待審核(3-5個工作日內完成)——查看實名認證結果。其實重點也就是第一步上傳認證資料,其他兩步都不需要我們做什么工作只是等待結果而已。
當前文章:域名認證的詳細操作步驟和方法
瀏覽路徑:http://www.yijiale78.com/news1/241651.html
成都網站建設公司_創新互聯,為您提供ChatGPT、企業網站制作、響應式網站、網站內鏈、外貿網站建設、品牌網站建設
廣告
聲明:本網站發布的內容(圖片、視頻和文字)以用戶投稿、用戶轉載內容為主,如果涉及侵權請盡快告知,我們將會在第一時間刪除。文章觀點不代表本網站立場,如需處理請聯系客服。電話:028-86922220;郵箱:631063699@qq.com。內容未經允許不得轉載,或轉載時需注明來源:
創新互聯